Description COVER, CONTROL BOX (UPPER) *R8* (BRIGHT RED)
Serial Range 1000001 - 9999999
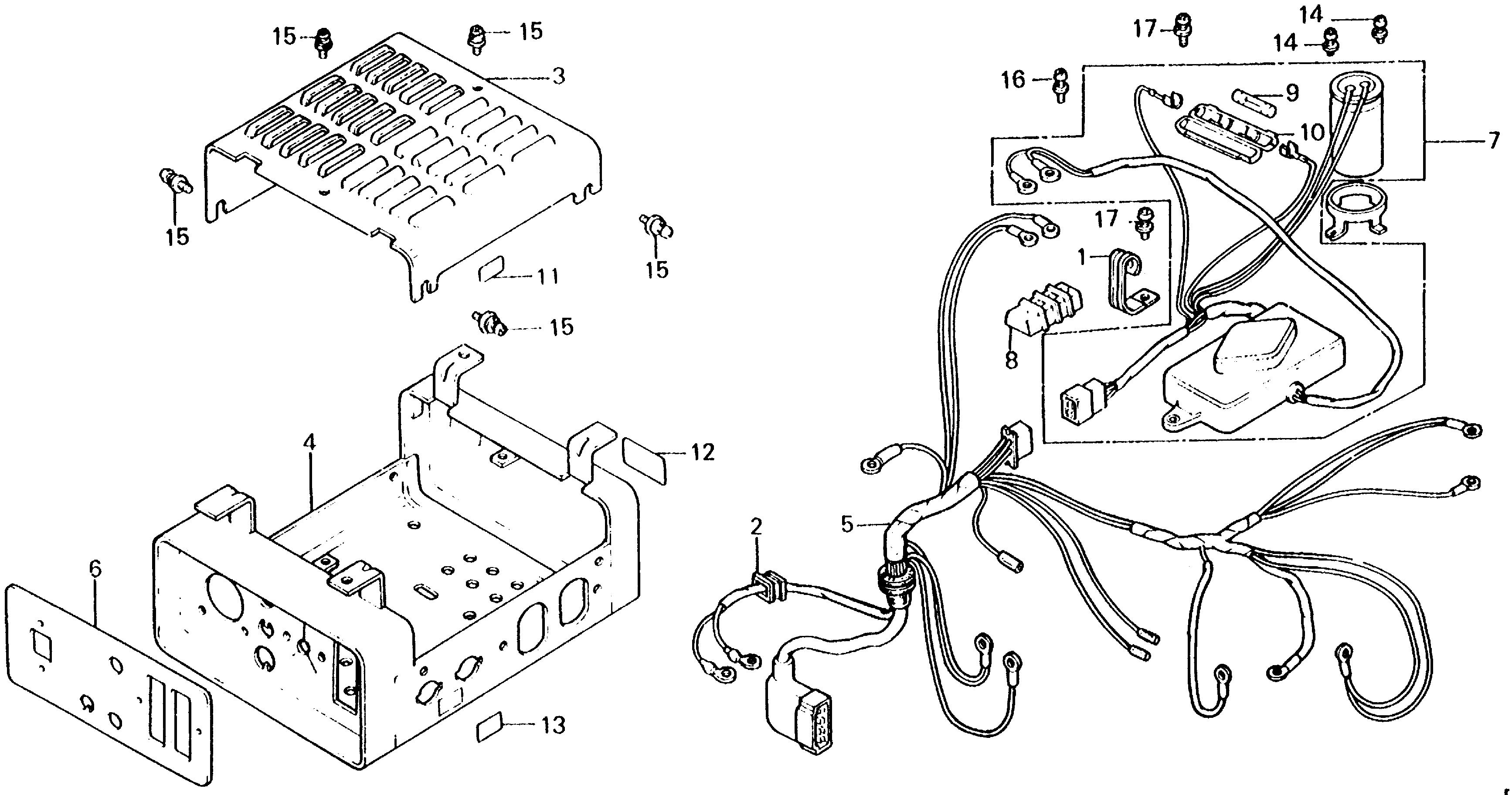
Ref No 4
Part Number 31402-876-158H
Description COVER, CONTROL BOX (LOWER) *R8* (BRIGHT RED)
Serial Range 1000001 - 9999999
Ref No 5
Part Number 31404-876-158
Description WIRE HARNESS ASSY.
Serial Range 1000001 - 9999999
Ref No 6
Part Number 31405-876-601
Description PANEL, FR.
Serial Range 3057658 - 9999999
Ref No 7
Part Number 31410-871-003
Description REGULATOR ASSY., AUTOMATIC VOLTAGE
Serial Range 3010088 - 3031107
Ref No 7
Part Number 31410-871-013
Description REGULATOR ASSY., AUTOMATIC VOLTAGE
Serial Range 3031108 - 9999999
Ref No 7
Part Number 31410-871-158
Description REGULATOR ASSY., AUTOMATIC VOLTAGE
Serial Range 1000001 - 3010087
Ref No 7
Part Number 31410-871-305
Description REGULATOR ASSY., AUTOMATIC VOLTAGE
Serial Range 1000001 - 3010087
Ref No 7
Part Number 31410-871-315
Description REGULATOR ASSY., AUTOMATIC VOLTAGE (NOT AVAILABLE)
Serial Range 1000001 - 3031107
Ref No 8
Part Number 31419-876-158
Description TERMINAL (2 POLE)
Serial Range 1000001 - 9999999
Ref No 9
Part Number 32342-871-000
Description FUSE (2.5A) (NOT AVAILABLE)
Serial Range 3031108 - 9999999
Ref No 10
Part Number 38211-842-159
Description HOLDER, FUSE
Serial Range 3031108 - 9999999
Ref No 11
Part Number 87524-839-670
Description MARK C, CAUTION (NOT AVAILABLE)
Serial Range 3031108 - 9999999
Ref No 12
Part Number 87534-892-640
Description MARK, GROUND
Serial Range 1000001 - 9999999
Qty
Price $2.40
Ref No 13
Part Number 87536-840-000
Description MARK B, D.C. OUTPUT (NOT AVAILABLE)
Serial Range 1000001 - 9999999
Ref No 14
Part Number 93892-04006-08
Description SCREW-WASHER (4X6)
Serial Range 1000001 - 9999999
Qty
Price $1.40
Ref No 15
Part Number 93893-04006-08
Description SCREW-WASHER (4X6)
Serial Range 1000001 - 9999999
Qty
Price $1.44
Ref No 16
Part Number 93893-04016-08
Description SCREW-WASHER (4X16)
Serial Range 1000001 - 9999999
Qty
Price $1.52
Ref No 17
Part Number 93892-05010-08
Description SCREW-WASHER (5X10)
Serial Range 1000001 - 3010087
Qty
Price $1.40
Ref No 17
Part Number 93893-05016-08
Description SCREW-WASHER (5X16)
Serial Range 3010088 - 9999999
Qty
Price $1.50
Item added to your cart
California Prop 65 Information
Internal Combustion Engine Products:
WARNING:
This product can expose you to chemicals including soots, tars, and mineral oils, which are known to the State of California to cause cancer,
and carbon monoxide, which is known to the State of California to cause birth defects or other reproductive harm. For more information go to
www.P65Warnings.ca.gov.
Miimo Robotic Mower
WARNING:
This product can expose you to chemicals including lead and lead compounds, which are known to the State of California to cause cancer and birth defects or other reproductive harm.
For more information go to
www.P65Warnings.ca.gov.