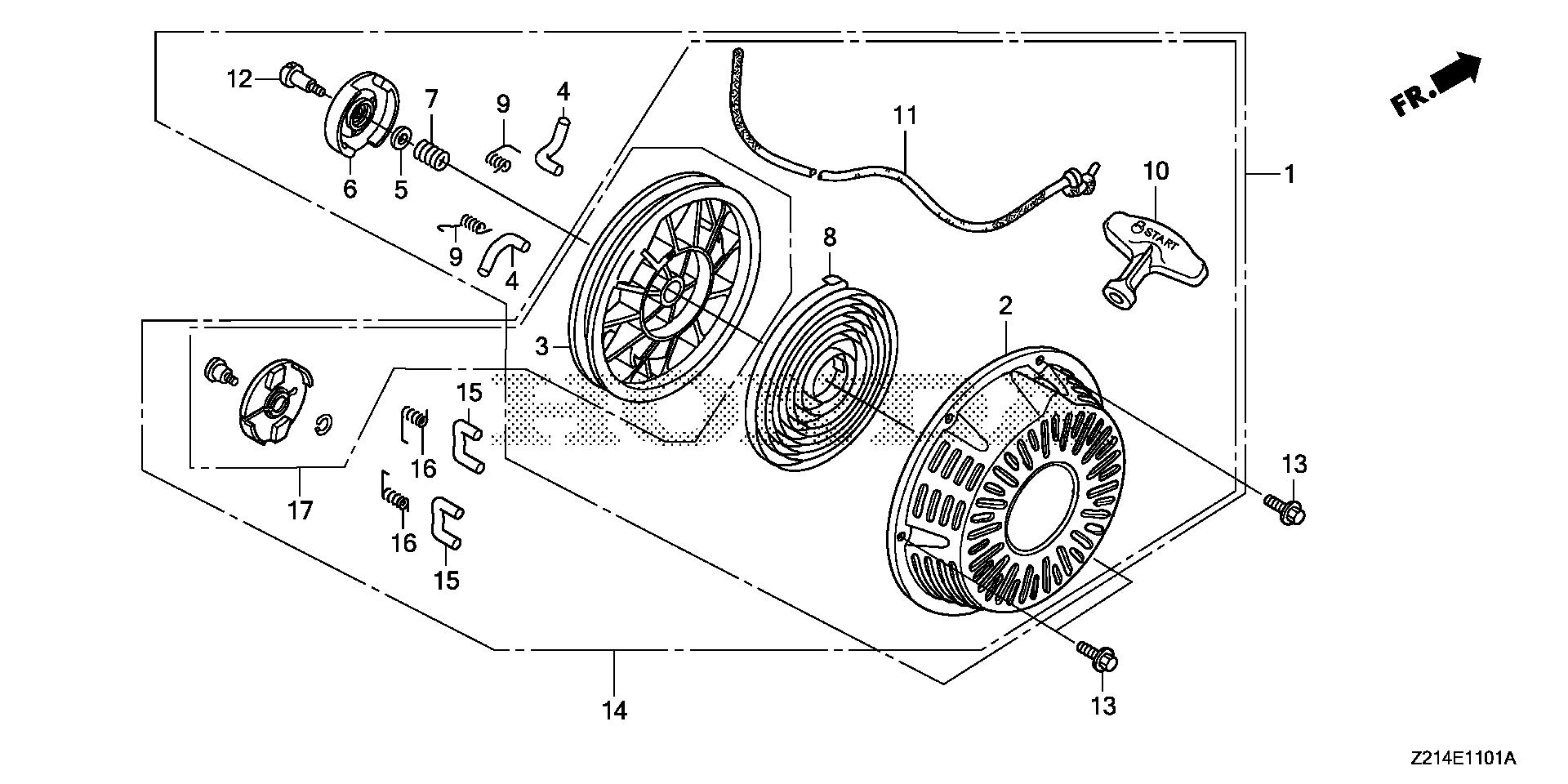
Generators EM EM6500 EM6500SXK1 AH EAPC-1000001-9999999 RECOIL STARTER (2) - Honda of The Ozarks

Ref No
Part Number
Description
Serial Range
Qty
Price

Ref No
1
Part Number
28400-Z7E-003ZA
Description
STARTER ASSY., RECOIL *NH1* (BLACK)
Serial Range
1000001 - 9999999
Qty
Price
$65.76

Ref No
2
Part Number
28410-Z7E-003ZA
Description
CASE, RECOIL STARTER *NH1* (BLACK)
Serial Range
281239 - 9999999
Qty
Price
$125.10

Ref No
3
Part Number
28420-Z7E-003
Description
REEL, RECOIL STARTER
Serial Range
25331 - 9999999
Qty
Price
$33.10

Ref No
4
Part Number
28422-ZH8-801
Description
RATCHET, STARTER
Serial Range
25331 - 9999999
Qty
Price
$6.52

Ref No
5
Part Number
28431-ZH8-801
Description
PLATE, FRICTION
Serial Range
25331 - 9999999
Qty
Price
$5.02

Ref No
6
Part Number
28433-Z2E-003
Description
GUIDE, RATCHET
Serial Range
25331 - 9999999
Qty
Price
$9.92

Ref No
7
Part Number
28441-Z2E-003
Description
SPRING, FRICTION
Serial Range
25331 - 9999999
Qty
Price
$3.84

Ref No
8
Part Number
28442-Z7E-003
Description
SPRING, RECOIL STARTER
Serial Range
25331 - 9999999
Qty
Price
$23.52

Ref No
9
Part Number
28443-ZH8-801
Description
SPRING, RETURN
Serial Range
281239 - 9999999
Qty
Price
$3.54

Ref No
10
Part Number
28461-Z2E-003
Description
GRIP, STARTER
Serial Range
25331 - 9999999
Qty
Price
$3.64

Ref No
11
Part Number
28462-Z2E-003
Description
ROPE, RECOIL STARTER
Serial Range
281239 - 9999999
Qty
Price
$15.20

Ref No
12
Part Number
90003-ZH8-801
Description
SCREW, SETTING
Serial Range
25331 - 9999999
Qty
Price
$4.18

Ref No
13
Part Number
90008-ZE2-003
Description
BOLT, FLANGE (6X10)
Serial Range
25331 - 9999999
Qty
Price
$1.76