Generators EM EM6500 EM6500SXK1 AT EAPC-1000001-9999999 PISTON@CONNECTING ROD - Honda of The Ozarks

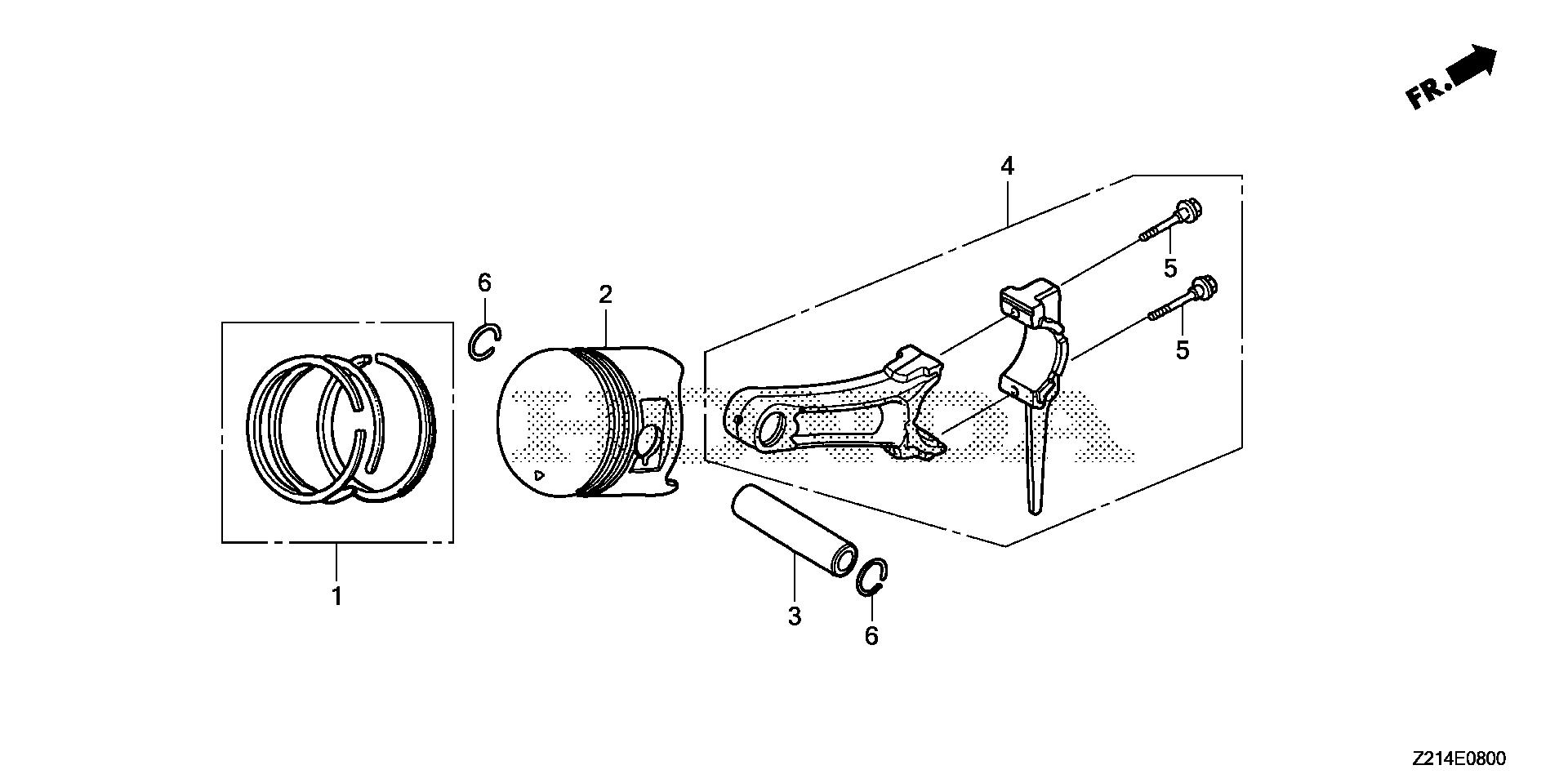
Ref No
Part Number
Description
Serial Range
Qty
Price

Ref No
1
Part Number
13010-Z1C-800
Description
RING SET, PISTON (STD) (RIKEN)
Serial Range
4278970 - 9999999
Qty
Price
$78.20

Ref No
1
Part Number
13011-Z1C-800
Description
RING SET, PISTON (0.25) (RIKEN)
Serial Range
4278970 - 9999999
Qty
Price
$85.68

Ref No
1
Part Number
13012-Z1C-800
Description
RING SET, PISTON (0.50) (RIKEN)
Serial Range
4278970 - 9999999
Qty
Price
$85.68

Ref No
1
Part Number
13013-Z1C-800
Description
RING SET, PISTON (0.75) (RIKEN)
Serial Range
4278970 - 9999999
Qty
Price
$76.50

Ref No
2
Part Number
13101-ZF6-W00
Description
PISTON (STD)
Serial Range
1000001 - 4278969
Qty
Price
$74.24

Ref No
2
Part Number
13102-ZF6-W00
Description
PISTON (0.25)
Serial Range
1000001 - 4278969
Qty
Price
$128.34

Ref No
2
Part Number
13103-ZF6-W00
Description
PISTON (0.50) (NOT AVAILABLE)
Serial Range
1000001 - 4278969

Ref No
2
Part Number
13104-ZF6-W00
Description
PISTON (0.75) (NOT AVAILABLE)
Serial Range
1000001 - 4278969

Ref No
3
Part Number
13111-ZF6-W00
Description
PIN, PISTON
Serial Range
1000001 - 9999999
Qty
Price
$15.86

Ref No
4
Part Number
13200-Z1C-305
Description
ROD ASSY., CONNECTING (0.25 LOWER SIZE) (NOT AVAILABLE)
Serial Range
1000001 - 9999999

Ref No
4
Part Number
13200-Z1C-900
Description
ROD ASSY., CONNECTING (STD)
Serial Range
1000001 - 9999999
Qty
Price
$29.94

Ref No
5
Part Number
90001-ZE8-000
Description
BOLT, CONNECTING ROD
Serial Range
1000001 - 9999999
Qty
Price
$4.34

Ref No
6
Part Number
90601-ZE3-000
Description
CLIP, PISTON PIN (20MM)
Serial Range
1000001 - 9999999
Qty
Price
$2.24